除非极度害怕搭飞机,不然无聊至极的搭飞机过程应该是最让人受不了的,除了无限期的等待还是等待,要等着安检、等着登机,还要等着抵达你的目的地。
空中巴士(Airbus)刚刚获得了一项加快登机速度的破天荒新方法的专利,根据Ars Technica 指出,这个方法就跟卡通“雷鸟神机队”里的“雷鸟”号有异曲同工之妙。
下面是其流程方法:
一般来说,乘客需要拖着脚、一个一个排着队等候登机;这样不仅效率低,还很耗时间。
REUTERS/Yuya Shino
对此空中巴士这个飞机制造商认为对此要有新的做事方法才行,而且还需要是个机体设计的革命。
USPTO/Airbus
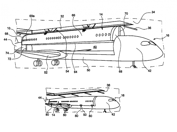
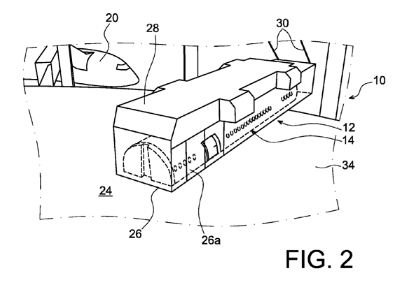
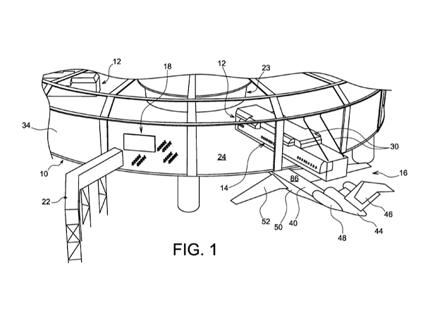
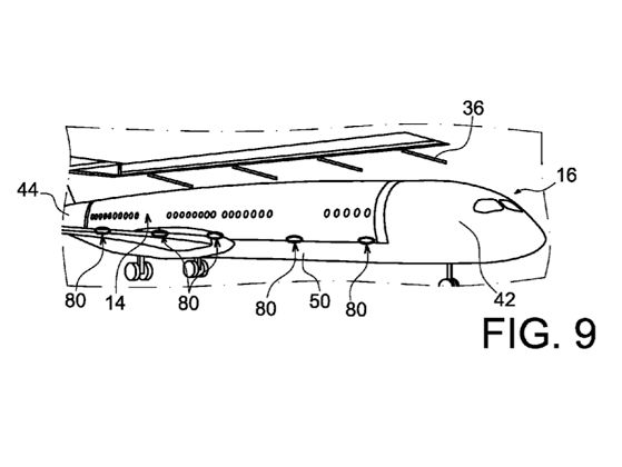
空中巴士建议把客舱与飞机分拆开来,取代原本让乘客从机场里特别设计的登机口登上飞机的方式。
Airbus
等乘客都登上客舱,飞机就滑行到上客处,准备迎接乘客。
USPTO/Airbus
接着,搭载乘客的客舱就被下放、装置飞机上(跟铰接式货车或是货柜的装卸类似),如此一来便大功告成,飞机就可以启程了。
USPTO/Airbus
停在停机坪上空转的每一分钟都是浪费,而因为不必直接载卸乘客,所以时间可以多出来,飞机停靠装卸时间减少的同时,还可以让飞机多飞几趟,也就能为航空公司多赚点钱。
ISPTO/Airbus
当客舱舱体一被移除,飞机不需要等候舱内清洁完毕还有卸完行李,马上可以接续下一段航程;这样的方法也让需要载运货物的飞机,运作更加方便。
USPTO/Airbus
如果你觉得空中巴士这主意有点熟悉,那是因为这正是经典儿童电视节目“雷鸟神机队”里面“雷鸟”二号的设计概念。
Thunderbird
但是可别期待这样的飞机近期内会在你附近的机场里出现。
Thomson Reuters
因为若真如此,这将会是个浩大的工程;不只是飞机,就连机场也需要有相对的新潮设计。
但是显然空中巴士还是非常热衷于站在航太科技的尖端,他们每年上百件的奇特专利也让他们因而出名。
今年稍早时,空中巴士还获得了一项增加飞机载客量的专利,方法是让乘客互相交叠在一起。
躺在下方乘客上面Airbus
2013年时,空中巴士也获得另外一项可以节省空间的专利,这项专利则需要乘客在航程中坐在立式座椅上。
那应该是世界上最难坐的椅子了Airbus
如果这样的坐法不太舒服,空中巴士还有另外一项专利:虚拟实境头戴显示器,可以减缓乘客不适。

!评论内容需包含中文